In the series circuit shown in figure 1 above, E = V1 + V2 + V3. This means that in a series connection, the voltage drop in each of the resistors add up to the applied source voltage. The series combination of R1, R2 and R3, becomes a voltage divider. In a series circuit, the ratio between any two voltage drops is the same as the ratio of the two resistances across which these voltage drops occur.
Given any resistor in a voltage divider,
Where Vx is the voltage drop across resistor Rx, E is the total applied voltage and RT is the total equivalent resistance.
Example 1
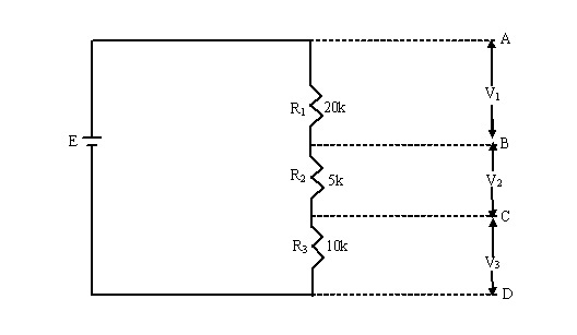
Figure 2
What is the voltage between terminal B and D in the circuit shown in figure 2 above.
Solution
A continuously-variable terminal voltage is often preferred rather than fixed voltages provided by the simple voltage divider shown in the example above. This can be obtained by a voltage divider wound or carbon-resistance element to form a potentiometer as shown in figure 3 below.
Figure 3: A voltage divider or potentiometer.
The voltage divider principle is widely used in electronics design where for economic reasons, one voltage source have to supply all the voltages required by a piece of equipment. The series dropping resistor as shown in figure 4 below provides the simplest method of obtaining the required voltage drop across a certain circuit element.
Figure 4
Example 2
A certain component in an electric circuit requires an operating voltage of 25V at a current drain of 50mA. If the supply terminal voltage of 40V is applied, what is the value of the series dropping resistor required?
From Ohm’s law, we can represent the load of the circuit by a resistor (RL)
= 500Ω
Applying the voltage divider principle, the series dropping voltage (VD) can be calculated as
VD = E – VL
=40 – 25
= 15V
Since the circuit is a series connected circuit, the series dropping current (ID) is equal to the load current (IL)
Therefore the series dropping resistance (RD) can be calculated thus







